-
Posts
3,621 -
Joined
-
Last visited
Content Type
Profiles
Forums
Gallery
Events
Store
Everything posted by Prairiehammer
-
rear wheel bearing/seal order
Prairiehammer replied to dna9656's topic in Venture and Venture Royale Tech Talk ('83 - '93)
Doug? Did you read the Word doc I previously posted? It describes the reassembly. -
rear wheel bearing/seal order
Prairiehammer replied to dna9656's topic in Venture and Venture Royale Tech Talk ('83 - '93)
Is this diagram easier to read? Also read over this Word doc: 83 Venture-Rear-Wheel-Bearings-Replacement.docx -
Unfortunately, I don't believe you can remove the petcock from the tank while the tank is installed on the bike. While the gunk LOOKS like big pieces of rust, I think it is, as you suspect, dried flakes of dislodged varnish. Fish some of the crud from the tank and experiment with different solvents. Place some of the gunk in a small container and add different solvents to determine which solvent dissolves the stuff and puts it back into a liquid solution.
-
Front wheel seals
Prairiehammer replied to dna9656's topic in Venture and Venture Royale Tech Talk ('83 - '93)
-
Cylinder side covers
Prairiehammer replied to dna9656's topic in Venture and Venture Royale Tech Talk ('83 - '93)
NO! Don't do that! That would run the risk of loose RTV migrating through the cooling system, possibly clogging the radiator or getting entangled in the water pump impeller. The solution is to shim between the striped cover and the rubber plug. A dime (ten cent piece) has been effective as a shim (at least on the Second Gen, where the leak seems to be more common). You state that there is an OIL leak emanating from behind the striped covers. There should NOT be any OIL. The rubber plug is holding back coolant from within the the cylinder water jacket. The "damper" is just that, a cushion or damper for the striped cover, to preload the cover screw and to prevent rattling and loosening of the striped cover. -
Need a part....
Prairiehammer replied to uhfradarwill's topic in Venture and Venture Royale Tech Talk ('83 - '93)
Keep an eye out for this brake switch for the 1986-1987, 41V-83980-01-00. It is a four wire switch, too. It differs from your 1988-1993 brake switch by the addition of a noise filter on the wiring harness of the 1988-1993. Gives you another option when you are seeking a replacement. -
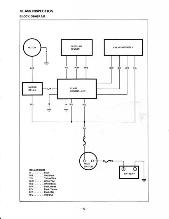
Class wiring
Prairiehammer replied to ken5124's topic in Venture and Venture Royale Tech Talk ('83 - '93)
-
Saddle Bag Leaking
Prairiehammer replied to rrod1393's topic in Venture and Venture Royale Tech Talk ('83 - '93)
The MKI saddlebags and trunk each should have a seal in the groove. It is part number 26H-2847F-00-00, superseded to 54K-2847F-00-00. This seal is also used on the trunk of the MKII Venture. Of course it is no longer available from Yamaha. I have seen a seal offered on eBay once, but never again. Some have inserted the proper sized window screen spline as a satisfactory substitute. You can find screen spline at home centers. -
Marcarl's method is valid; consider how the factory (either Mikuni or Yamaha) would do the float adjustment. (The factory is certainly not going to do a wet adjustment for every carb.) This pic shows the casting mark (a circle) on the jet block and the correct location of the float in relation to that casting mark.
-
Thank you!
-
Don, pictures for these two threads in the First Gen Tech Talk would be appreciated. https://www.venturerider.org/forum/showthread.php?27225-Pulling-wheel-bearings-Part-1-of-2&highlight=bearing https://www.venturerider.org/forum/showthread.php?27226-Pulling-Wheel-Bearings-Part-2-of-2&highlight=bearing Thanks, much.
-
Try making two words of "Oaktree", like this: Oak Tree. https://goo.gl/maps/YwDZJb4smPw
-
89 VR Mix Screws
Prairiehammer replied to uhfradarwill's topic in Venture and Venture Royale Tech Talk ('83 - '93)
-
Ever tried to replace a car from your past?
Prairiehammer replied to Freebird's topic in Watering Hole
Indeed, I HAVE wondered where my previous cars are. Especially, my first car; a 1966 Ford Fairlane with 390, 3 on the tree, bench seats. I "rodded" it with a "built" 390 (12:1 compression, 300° furation/.500 lift Crane cam, Hooker headers, Holley 780cfm three barrel carb and a Borg-Warner Super T-10 four speed. Installed bucket seats from a Charger and the rear seat from a Dart, new carpeting and dyed all the old tan/beige interior black. Goodyear L60-15 on the rear, Goodyear Polyglas F70 on the front, mounted on American Racing aluminum "mags". Traction bars. Rear air shocks, front Monroe HD adjustable shocks. The pictured Fairlane is not of mine, but very similar. (I didn't own a camera back in those days). I owned a 1971 Mustang Mach1 for several years until I sold it to a local guy. He showed up one night at the tavern I was bartending at with the Mach1; about 12 years after I sold it to him. He let me take it out for a spin. He had repainted it from the dark metallic green to white (to make it look like the 1971 Boss 351). His car (my car) even made it to a Mustang magazine! -
Help with a rod knock please.
Prairiehammer replied to mmaleney's topic in Venture and Venture Royale Tech Talk ('83 - '93)
Unless the engine actually fired before the hydro lock stopped the crank, I don't think the starter would generate enough force to bend the rod. Have you had it running before this episode? If you have not heard it run before, it is possible that the knock was there before and the hydro lock was just an unfortunate, but harmless episode. The excess gasoline may have diluted the motor oil sufficiently to cause the rod knock. Rod or crank bearings are not known to wear much on these engines (they are plain bearings, just like your car) UNLESS there is a LOT of mileage. There are other (less serious) things that can generate an ominous sounding "knock", but are not caused by bad crank or rod bearings. Believe it or not, I had a bottom end knock on a very low mileage 1990 19,000 miles), that went away after a proper carburetor synchronization.
